日本NIKKATO陶瓷内胆,球罐,乳钵
发布时间:2025-06-22
作者:爱锐精密科技(大连)有限公司
浏览数:0
产品描述:日本 NIKKATO 陶瓷内胆、球罐、乳钵:高端制造的材料纯净度解决方案在医药研发中,0.1ppm 的金属溶出可能导致整批疫苗失效;在半导体材料制备中,微米级的杂质颗粒会使芯片良率骤降 30%。日本...
爱锐精密科技(大连)有限公司代理 日本NIKKATO陶瓷内胆,球罐,乳钵(日本NIKKATO产品,日本进口)
产品特点:
耐磨耗性,耐腐蚀性优良,不同的粉体处理所需要的各种材质均有相应产品,陶瓷内胆的施工均可承担,各种球磨球罐均有销售。
产品型号:
◆氧化铝材质: HD、HD-11、SSA-96、SSA-995、SSA-999W・SSA-999S
◆氧化锆材质: YTZ、YTZ-S
◆氮化硅材质: SUN-11、SUN-12
◆碳化硅:SIC-11
耐磨耗氧化铝陶瓷球磨罐,乳钵,及结构件系列产品
耐磨氧化铝陶瓷具有高强度的机械性能,且化学性能安定,适用于各种用途,是现代工业机器的部件,结构件里不可缺少的材料。 我们所提供的耐磨氧化铝产品一直不断的进行产品品质的改良,做为耐磨耗材料,我们追求能在更广范的领域里使其得到应用。
耐磨氧化铝陶瓷具有高强度的机械性能,且化学性能安定,适用于各种用途,是现代工业机器的部件,结构件里不可缺少的材料。
我们所提供的耐磨氧化铝产品一直不断的进行产品品质的改良,做为耐磨耗材料,我们追求能在更广范的领域里使其得到应用。
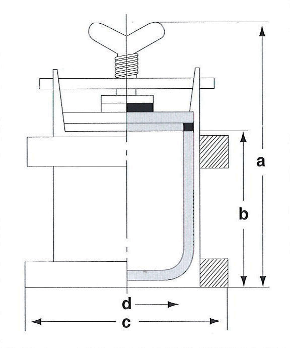
■球磨罐产品系列 我们提供的球磨罐产品是采用CIP(冷等静压)法生产制造的,高硬度,高机械强度的高级实验室及工业生产用研磨粉碎用器材。与市面销售的普通的陶瓷球磨罐想比较有极高的耐磨性,与我们生产的氧化铝研磨介质球并用可以得到更好的研磨效果。 我们的球磨罐分为A型,B型两种类型,可以直接放置于各类罐磨机上直接使用。 以陶瓷材料的研磨粉碎为代表,颜料,粉料,荧光体物质,及其它一些要求保持被加工体纯度的微粉碎,分散,混合的研究开发,生产等均可适用。


型号 | 尺寸 Size(mm) | 内衬陶瓷部分外径 | 容积 | |||
Type/No. | a | b | c | d | Outside Dia.(mm) | Capacity(ℓ) |
A-3 | 215 | 102 | 142 | 75 | 90 | 0.4 |
A-4 | 248 | 140 | 190 | 105 | 125 | 1 |
A-5 | 300 | 175 | 228 | 130 | 150 | 2 |


型号 | 尺寸(mm) | 容量(L) | ||||
a | b | c | d | 外径 | ||
B-104 | 142 | 130 | 120 | 80 | 140 | 1 |
B-105 | 180 | 168 | 140 | 87 | 165 | 2 |
B-106 | 240 | 223 | 154 | 100 | 180 | 3.6 |
B-107 | 250 | 230 | 184 | 115 | 210 | 5 |
B-108 | 265 | 251 | 210 | 130 | 240 | 7.3 |

型号 | 外径(mm) | 内径(mm) |
01 | 66 | 50 |
1 | 120 | 91 |
2 | 140 | 107 |
3 | 170 | 130 |
用途:
1.各种实验研究
2.粉体输送管道内衬陶瓷
3.管磨,振动磨,球磨机等的内衬陶瓷
KEYWORDS:粉碎,分散,研磨,研磨粉碎精密陶瓷部件,陶瓷机械备件,精密陶瓷备件,备品,粉碎,研磨机用陶瓷备件,干磨陶瓷备件,湿磨陶瓷备件,陶瓷球磨磨罐,磨瓶,砂磨球罐,球罐,砂磨机陶瓷搅拌头,耐磨陶瓷
- 上一篇:NIKKATO研磨粉碎精密陶瓷部件
- 下一篇:日本NIKKATO金属熔融用耐火坩埚
